Mizumoto Machine Mfg. Co.
Mizumoto ZLB Series Seat Ring Bolt

Manufacturer: Mizumoto Machine Mfg. Co., Ltd.
Model: ZLB Series
Features
- It is made of stainless steel, rust-resistant, and durable.
- It is installed on walls, floors, columns, etc., and is used as terminal fittings such as chains.
- It has a cut anchor.
Specifications
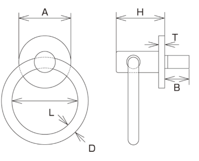
| Model | D | L | A | H | B | T | Drill Diameter | Weight (kg) | Reference Load (kef) | Reference Load (kN) |
|---|---|---|---|---|---|---|---|---|---|---|
| ZLB-8M | 6 | 38 | 30 | 28 | 14 | 3 | M-8 | 92 | 80 | 0.78 |
Dimensions (mm)












