Mizumoto Machine Mfg. Co.
Mizumoto LW Series Belt Hook

Manufacturer: Mizumoto Machine Mfg. Co., Ltd.
Model: LW Series
Features
- It can be used with a wide belt.
- As a connection bracelet with a belt-like flat object such as rubber or fiber, or as a joint for terminal fittings.
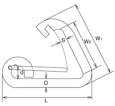
Specifications
| Product No. | D | L | W1 | W2 | S | d | Weight (g) | Reference Load (kgf) | Reference Load (kN) |
|---|---|---|---|---|---|---|---|---|---|
| LW-6 | 6 | 61 | 48 | 31 | 6 | 8.7 | 33 | 70 | 0.69 |
| LW-8 | 8 | 81 | 64 | 42 | 3.5 | 11.5 | 78 | 100 | 0.98 |
| LW-10 | 10 | 101 | 86 | 58 | 4 | 14.5 | 155 | 150 | 1.47 |
| LW-12 | 12 | 122 | 103 | 74 | 5 | 19.5 | 271 | 200 | 1.96 |
Dimensions (mm)












